poêle à bois aduro 14
Livré sous 6 semaines
| Puissance nominale | 5 Kw |
| Surface chauffée | 35 - 85 m² |
| Rendement | >78 |
| Taille de combustible | 33 cm |
| Diamètre conduit | 150 mm |
- Livraison estimée : Jusqu'à 4 jours ouvrables
Description
Le poêle à bois ADURO 14 allie puissance et efficacité pour chauffer de manière confortable de plus grands volumes. Sa grande vitre laisse pleinement admirer la flamme tout en diffusant une chaleur agréable et maîtrisée.
LES PLUS PRODUITS :
Poêle à convection
Nettoyage des vitres
Arrivée d’air primaire, secondaire et tertiaire
Bac à cendre
Aduro-tronic automatique
CARACTÉRISTIQUES :
– Puissance nominale : 6,5 kW
– Puissance mini/maxi : 3-9 kW
– Surface chauffée : 30-140 m²
– Rendement : > 78 %
– ETAS : 68 %
– La classe énergie : A+
– Diamètre du conduit d’évacuation arrière : Ø 150 mm
– Dimensions en cm (HxLxP) : 90 x 51,1 x 37 cm
– Distance du centre de sortie du dessus à l’extrémité arrière du poêle : 18,5 cm
– Hauteur de la sortie du dessus par rapport au sol : 88,5 cm
– Largeur de la chambre de combustion : 38 cm
– Longueur maxi des bûches : 37 cm
– Poids : 85 kg
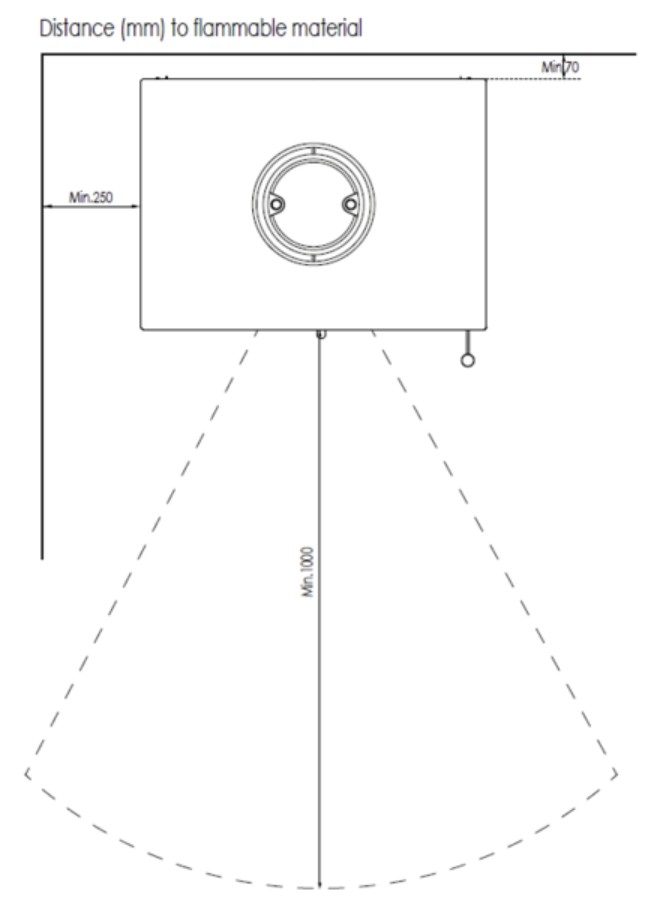
– Distance aux matériaux inflammables : Arrière : 7 cm ; Côtés : 25 cm ; En cas d´installation en coin : 8 cm ; Distance de sécurité / aux meubles : 100 cm
– NS3058 (Norvège), DIN-plus, CE, EN13240, Flamme Verte 7 étoiles & Ecodesign 2022
Assurez-vous de respecter les réglementations de construction incluant le conduit de fumées qui doit avoir un marquage CE et les distances de sécurité par rapport aux matériaux inflammables qui doivent être respectées.
Informations complémentaires
| Poids | 113 kg |
|---|---|
| Dimensions | 37 × 51,1 × 90 cm |
| Puissance nominale | 5 Kw |
| Surface chauffée | 35 – 85 m² |
| Rendement | >78 |
| Taille de combustible | 33 cm |
| Diamètre conduit | 150 mm |
Marque

Aduro – Design et qualité scandinaves à prix abordable.
Aduro est un fabricant danois de poêles à bois, poêles à granulés et poêles hybrides (mixtes) de haute qualité avec une mission simple : permettre au plus grand nombre d’accéder à un appareil de qualité professionnelle et respectueux de l’environnement, avec un design élégant et ceci le plus simplement possible grâce à des innovations technologiques, pour un prix raisonnable.
























Commentaires
Il n'y a pas encore de reviews.